Uvod proizvoda
GB teške šine imaju teorijsku težinu veću od ili jednake 50 kg po metru kao osnovnu specifikaciju, a izrađene su od visokokvalitetnog čelika od ugljika ili niskog legura. Tijekom procesa proizvodnje moraju proći kroz pretvarač čelika, usavršavanje izvan peći, kontinuiranog lijevanja i drugih procesa topiranja kako bi se osiguralo da čistoća čelične gredice ispunjava standard; Zatim se valjaju i formiraju visokim preciznim mlinovima s vrućim valjanjem, a dimenzionalne tolerancije visine šine, širine donjeg dijela, širine glave itd. Strogo se kontroliraju unutar nacionalnog standardnog raspona. Gotovi proizvodi moraju proći više testova kao što su ultrazvučno otkrivanje nedostataka i testiranje zatezanja. Imaju visoku čvrstoću, visoku otpornost na habanje i dobru žilavost, a široko se koriste u scenarijima transporta kao što su željezničke pruge i željeznice s velikim opterećenjem.
Trake teške 75 kg po metru su teške tračnice, koje se obično koriste za željezničke pruge, teške željeznice ili posebne staze (poput rudnika, luka itd.). Tvrdoća i žilavost tračnica poboljšavaju se vrućim valjanjem, gašenjem i drugim procesima. Na primjer, "cijele duljine ugašene šine" mogu značajno poboljšati otpornost na habanje.

Ključni izvedba
● Snaga zatezanja: veća od ili jednaka 880 MPa (U71MN kao primjer), osiguravajući da može izdržati opterećenje vlaka.
● Otpornost na habanje: Površinska tvrdoća (poput Brinell Tvrdoće) može doseći 280-350 hb, smanjenje trošenja na kotačima i stazama.
● Otpor umora: prilagodite se ponovljenim valjanjima vlakovima i smanjite rizik od pucanja staza.
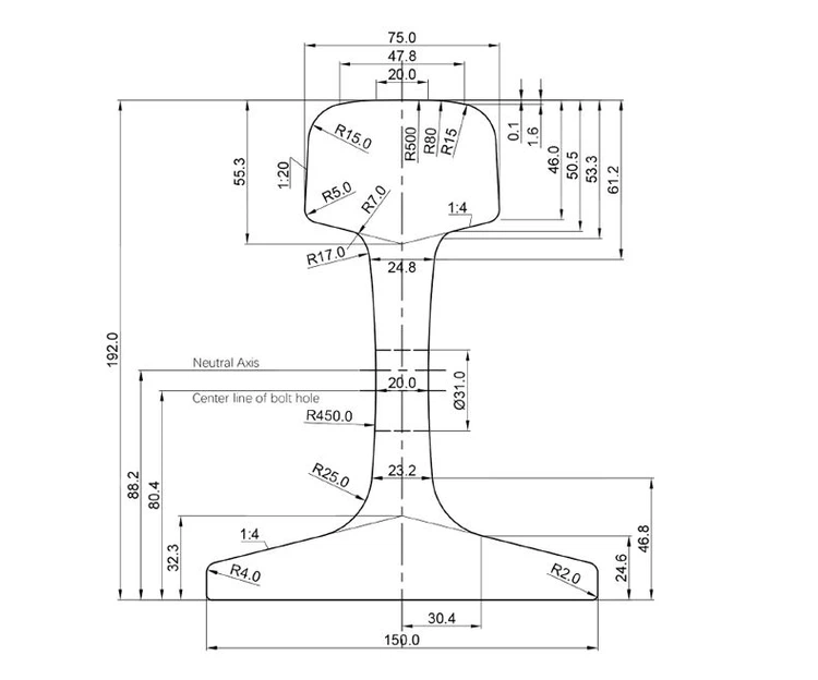
Specifikacije proizvoda

Primjena proizvoda


Pakiranje proizvoda i dostava
U vanjsko trgovini pakiranje i transport GB teških tračnica, čelični zavod je najosnovniji i kritičniji korak. Svaka skupina {{{0}} teških tračnica najprije se unaprijed fiksira na oba kraja tračnice sa čeličnim žicama umjerene debljine kako bi se spriječila dislokacija tijekom transporta, a zatim prekrivena čeličnim remenima od 16-19 mm širine. Sila zatezanja čeličnih traka kontrolira se na {1200-1500 n kako bi se osiguralo da se šine neće otpustiti tijekom utovara, istovara i transporta. Nakon dovršetka spajanja, odmah prskajte ulje protiv rušenja. Nakon što se ulje protiv rušenja u potpunosti prodire i osuši, cijeli snop tračnica čvrsto je omotan plastičnim filmom od 0 1-0. Debljine 15 mm kako bi se spriječila vlaga i prašina.


GNEE Rail se fokusira na pružanje svestranih materijalnih rješenja za međunarodnu konstrukciju željezničkog tranzita. Izgradili smo cjelovit industrijski sustav od nabave, proizvodnje i prerade sirovina do globalne distribucije, a naši su proizvodi prošli više međunarodnih certifikata poput ISO9001. Imamo profesionalni međunarodni trgovinski tim koji može pružiti prilagođena rješenja proizvoda u skladu sa zahtjevima projekata kupca i oslanjati se na globalnu logističku mrežu kako bi se postigla učinkovita isporuka. S godinama iskustva u industriji, uspostavili smo uslužnu mrežu koja pokriva glavna tržišta i posvećeni smo pružanju kupaca u cijelom ciklusu, uslugama opskrbe proizvoda s teškim željezničkim proizvodima u cijelom ciklusu.







Popularni tagovi: Željeznički čelik od 75 kilograma, Kina, Kina 75kg, proizvođači, dobavljači, tvornica, teška vrsta željeznička čelika






